Mega Rad Gun Thread

Caliber/Chambering arguments should have been left to the boomer forums of the 00s where people now claim .44 Magnum lacks stopping power and 5.56 overpenetrates.
Agreed. I've seen a 105mm high frag shell land a few feet in front of a guy, and knock him up and off his feet, sending him flying. That fucker hopped up and took off sprinting like he was going for Olympic Gold. I'm not going to froth at the mouth about handgun calibers when even artillery rounds can fail to do the job if the shot placement was shit.
I only like Kydex for a duty/war gear holster. I don't care for them for EDC/concealed carry. For daily carry I'll always go for a quality leather holster. I always get excited when the weather cools down enough for an over shirt or jacket, because then it means I can break out my shoulder rig, which is my all-time favorite way to carry concealed.
I can tolerate my IWB kydex holsters around this time of year when it's cold enough to tuck a shirt in underneath the holster, but I've become a pretty big fan of leather holsters recently after getting one for my C2. I've never carried in a shoulder rig before though, any recommendations?
 
  • Like
Reactions: WhoBusTank69
I always get excited when the weather cools down enough for an over shirt or jacket
I love winter for this reason alone, but it's absolutely impossible to use a shoulder holster when you're out in the Argentine semiarid bush in summer with the temperature at 120 and unless I'm hunting if I open carry (well, if I carry at all but lole) I'm getting arrested so it's not an option.

During the hot months, which starts now and lasts until April-ish it's either snub nose pocket carry or 4 oclock IWB.
 
What is a good, general purpose silencer for 556
Check PewScience (while not ironclad, things that he gives good reviews are usually pretty decent at least), Juicey media and Silencer Analytics (and his old channel, Silencer Syndicate). Wait until after SHOT to make a purchase.
Avoid Keymo, yes the lockup issues that people have with it are probably mostly self inflicted but it's a decade old design that is heavier and adds more length than many other QD systems (also this might just be me but the muzzle devices are really ugly). Plus the HUB adapters are like $250 a piece and the only ones that come with them permanently affixed are Pre X Model Sandman's and those are practically obsolete.
If you decide to go with Surefire wait until the reviews come out for the RC-4 that they'll probably be releasing soon.
Avoid the Sierra-5 from Dead Air, the stellite casting problems they had with them have been long resolved but still
CAT's are pretty much universally praised except for their lack of availability, stupid cartoons, new releases being continually delayed and price.
Avoid Q, they sell what is basically a YHM Turbo for $1200 and Kevin brittingham is a huge fag.
Avoid purchasing any KAC CRS's for the time being, not because they're awful but KAC has leapfrogged ahead two generations from the CRS-1 to the CRS-3 but didn't even offer up the CRS-2 for sale (it appeared in a catalog) before further refining it into the CRS-3.
If you buy surefire make sure you get a muzzle device with Labyrinth seals
Huxwrx might actually be releasing an an actually available Inconel model at SHOT so that their blast baffles stop getting shredded
Avoid anything from Sig Saar, some in the army have to weld the locking collar to the muzzle device to stop them from coming off
Otter Creek Labs is the darling of the silencer community, they're working on their first printed 5.56.
If you value your health and or shoot a lot/especially indoor get something low back pressure.

Use this website to for not only a relatively compete list of major manufacturers but to map out weight and length of various configurations

Ruger has a new very ugly and stupid variant of the LCP MAX that comes from the factory with a 15 MOA fiber optic red dot (it stops working when it's dark out). At least you still have a front sight
1762460443526.jpeg

FMGC-01, a select fire FGC-9 variant seized in Haiti back in July. full auto FGC-9 derivatives are something I'm sorely lacking knowledge in. Notably it has a MK1 Style ejector because the design existed as far back as 2022 in one way or another.
1762460706975.jpeg

Beretta 92's with factory buttstocks the LAPD ordered for the 1984 Summer Olympics.
1762460998767.jpeg

This doesn't visually appear to be a Ciener Over/Under but it might be a very rough prototype
1762461089530.jpeg

Finnish captured and shortened SVT-40
1762461144884.jpeg

Gall and FAL with GP-25's
1762463573767.jpeg

1762463774801.jpeg

AEK-919, A-762 and A-545
1762463871510.jpeg

VSS
1762463907504.jpeg

Cut down RPD in Vietnam
1762463943668.jpeg

1762464220728.jpeg

PKT Conversions
1762464251477.jpeg
1762464414704.jpeg

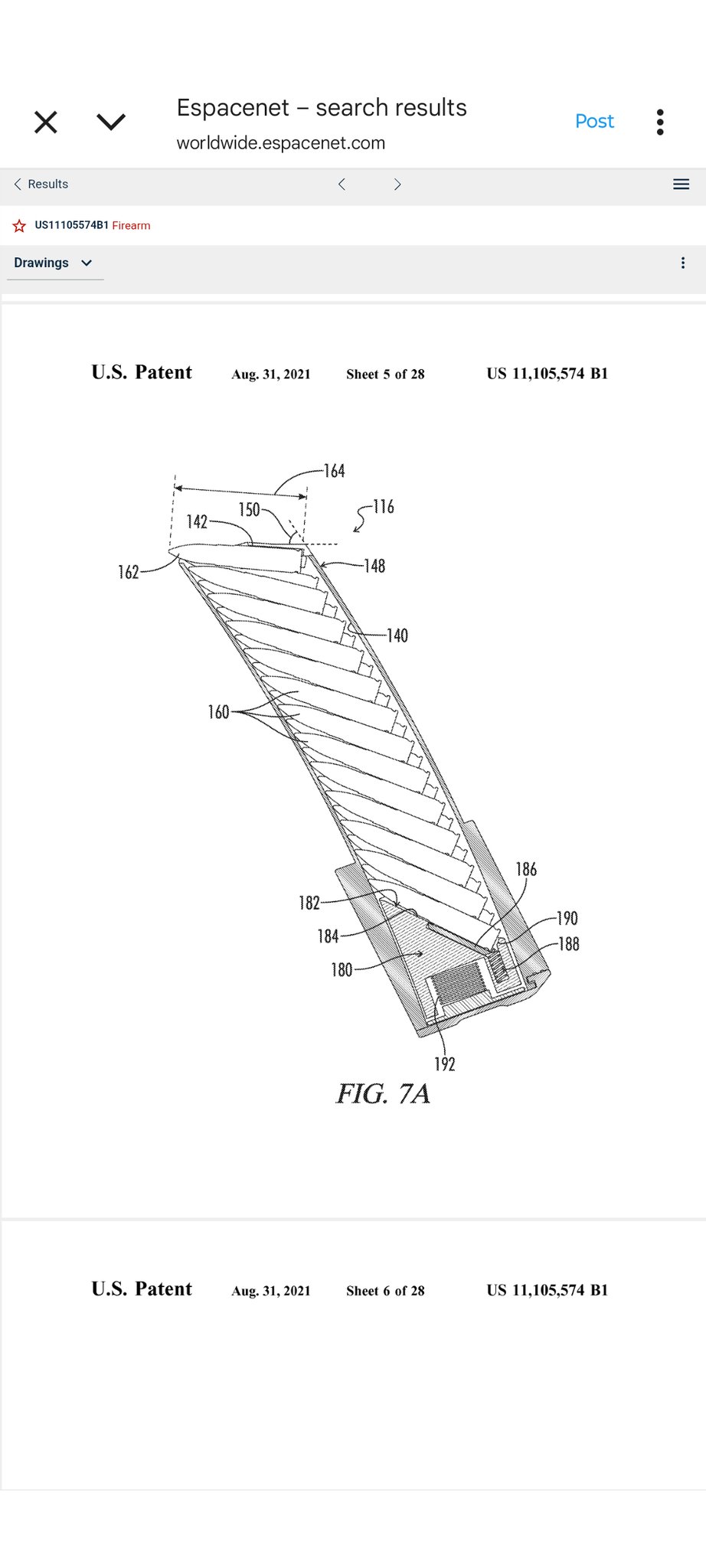
New patent drawings for the Crye rifle caliber PDW
1762466032462.jpeg

Mr. Crye has also applied for a patent for a pistol that also fires rifle cartridges
1762466264276.jpeg

For those that don't understand how the magazine works
1762466170050.jpeg

Don't expect to ever be able to buy this, Mr. Crye has a history of coming up with investing gun designs and abandoning them stretching back to the 2000's.

Blind squirrel industries clamp on AR-15 mag well adapters for 1911 mags (these seem a little retarded, why not make a insert retained by the magwell unless Stern Defense has a patent on it)
1762466497861.jpeg
1762466516204.jpeg



Issue #12 of the GunCAD Digest

I understand Franklin has to try and recoup some of the money they spent on the lawsuit but come on man

The lolbert who claims to have gotten /r/FOSSCAD nuked put out a new update regarding his rifle design

Tajik Terrorist in Syria with a Suppressed M&P57. He has 3 Beretta PMX's on the wall behind him



Bunch of Info from Second Amendment Foundation I can't be bothered to screenshot it all so look at it on nitter.

-Fiscal Year 2025 (Oct 24 to Sep 25) had 1.5M NFA applications
-Tax Revenue: $187M, expected to be slashed to $25-30M once $0 tax stamps go through
-Fiscal Year 2024 saw 834k Form 4's while FY25 saw 892k.
-FY24 saw 90k Form 1's while FY25 only saw 60k.
-At the end of FY23, 258,408 forms were left pending, The end of FY24, 71,644, End of FY25, 28,638. As of 10/29 there were 31,559 applications pending, of those 27,918 were tax paid transfers. The rest were tax exempt (SOT's)
-ATF might expand Eforms to allow person to person transfers, that is, you bought a suppressor, didn't like it, so you decide to sell it to another guy for 60% retail value.
 
  • Like
Reactions: 888Flux
Back
Top Bottom